NSN 3930-00-483-3480
Part Details | FORK LIFT TRUCK
3930-00-483-3480 A self-propelled, wheeled vehicle, equipped with power driven front or side loading fork, type elevating unit(s). The elevating unit(s) may extend and retract to provide a reaching capability. It is primarily used for lifting, transporting, and stacking. For nonself-propelled, wheeled vehicles equipped with either manual or power driven elevating unit(s), see ELEVATOR, PORTABLE and TRUCK, LIFT, HAND. Excludes TRUCK, LIFT, PLATFORM.
Alternate Parts: MILT52698, MIL-T-52698, 3930-00-483-3480, 00-483-3480, 3930004833480, 004833480
Supply Group (FSG) | NSN Assigned | NIIN | Item Name Code (INC) |
---|---|---|---|
39 | FEB 10, 1971 | 00-483-3480 | 03197 ( TRUCK, LIFT, FORK ) |
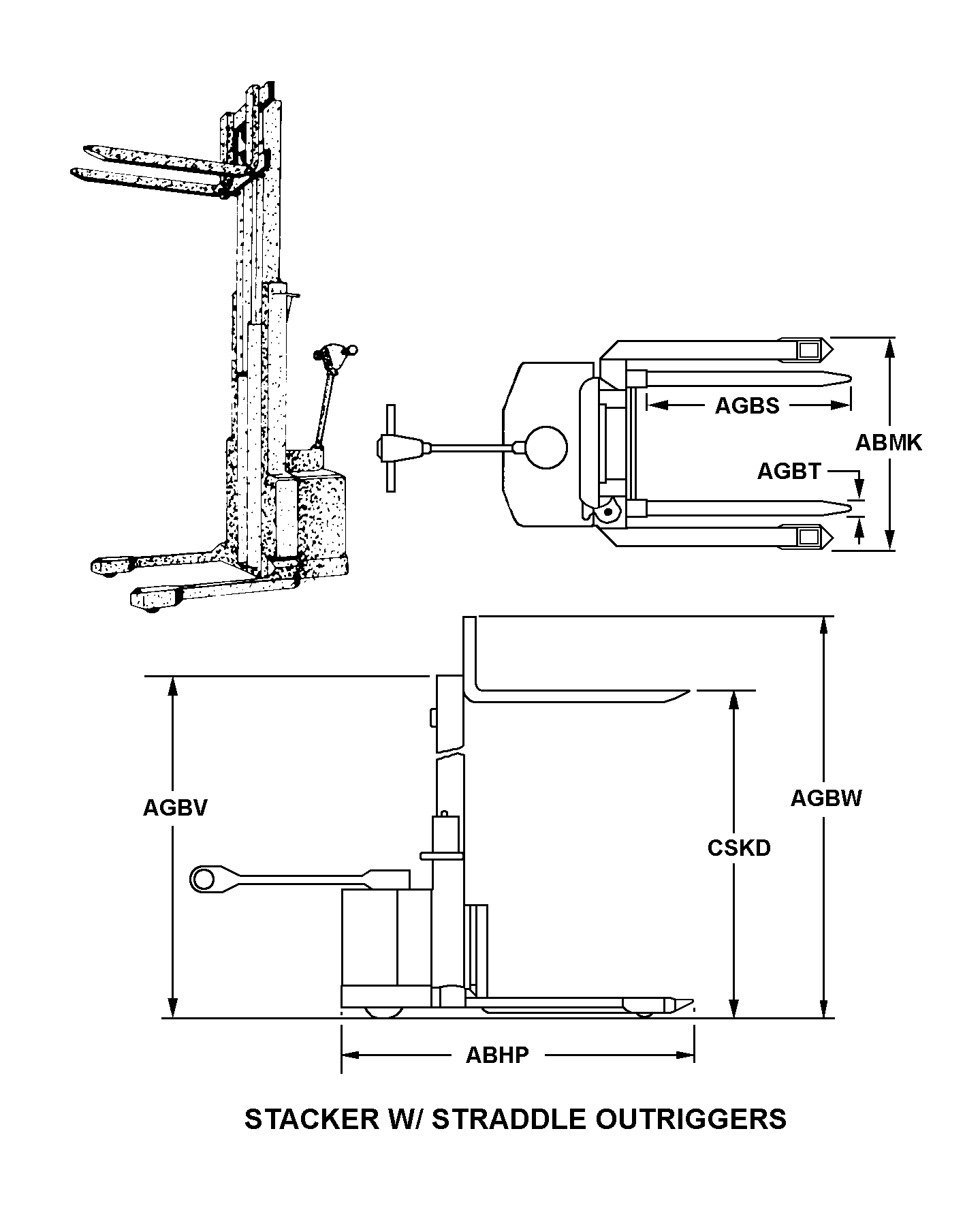
REFERENCE DRAWINGS & PICTURES
STACKER W/STRADDLE OUTRIGGERS

Cross Reference | NSN 3930-00-483-3480
Part Number | Cage Code | Manufacturer |
---|---|---|
MIL-T-52698 | 81349 | MILITARY SPECIFICATIONSPROMULGATED BY MILITARY |
Technical Data | NSN 3930-00-483-3480
Characteristic | Specifications |
---|---|
STYLE DESIGNATOR | STACKER W/STRADDLE OUTRIGGERS |
FORK LENGTH | 36.000 INCHES NOMINAL |
FORK WIDTH | 4.000 INCHES MINIMUM |
OVERALL HEIGHT WITH FORKS IN LOWEST POSITION | 83.000 INCHES NOMINAL |
MAXIMUM LOAD RATING | 2500.000 POUNDS |
LIFT MECHANISM TYPE | HYDRAULIC |
LIFT ACTUATION METHOD | POWERED |
HAZARDOUS LOCATIONS/ENVIRONMENTAL PROTECTION | U.L. TYPE E |
FEATURES PROVIDED | TELESCOPIC MAST |
SPECIAL FEATURES | 2 SOLID LOAD WHEELS; SOLID STEERABLE WHEELS |
NONDEFINITIVE SPEC/STD DATA | E TYPE AND 2 SIZE |
FORK LOAD CENTER DISTANCE | 24.000 INCHES NOMINAL |